Přehoupla se polovina roku a na podzim přijde nový iPhone, nejspíš do bude 6S. A pokud to o čem se chci zmínit nebude mít, mělo by to přijít napřesrok – cosi čemu se snad bude říkat duální objektiv.
Přehoupla se polovina roku a na podzim přijde nový iPhone, nejspíš do bude 6S. A pokud to o čem se chci zmínit nebude mít, mělo by to přijít napřesrok – cosi čemu se snad bude říkat duální objektiv.
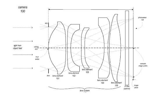
Vyšťourali to zvědavci v patentových spisech a zveřejnili na Apple Insider a odtud to přišlo do Dpreview. Jde o objektiv, který pouhým přepnutím funguje jako širokoúhlý nebo teleobjektiv. Systém bude doplněn softwarovým řešením, které zajistí plynulé přechody mezi oběma krajnostmi. Podle střízlivých odhadů ale je pravděpodobnější, že novinka bude zveřejněna spíš až napřesrok. Nicméně podle dosavadních předpokladů už letošní model, tedy podle všeho 6S, by měl mít výrazně vylepšený fotoaparát. Schémátko zde dole je staženo s americké veřejné stránky USPTO. Je z něho pozoruhodné, jak divoké tvary mohou mít čočky moderních objektivů… v miniaturnách rozměrech.

